Taper shank arbors for drill chucks
Taper shank arbors KD

A04
Taper shank arbors with drill chuck taper DIN 238
completely hardened and ground


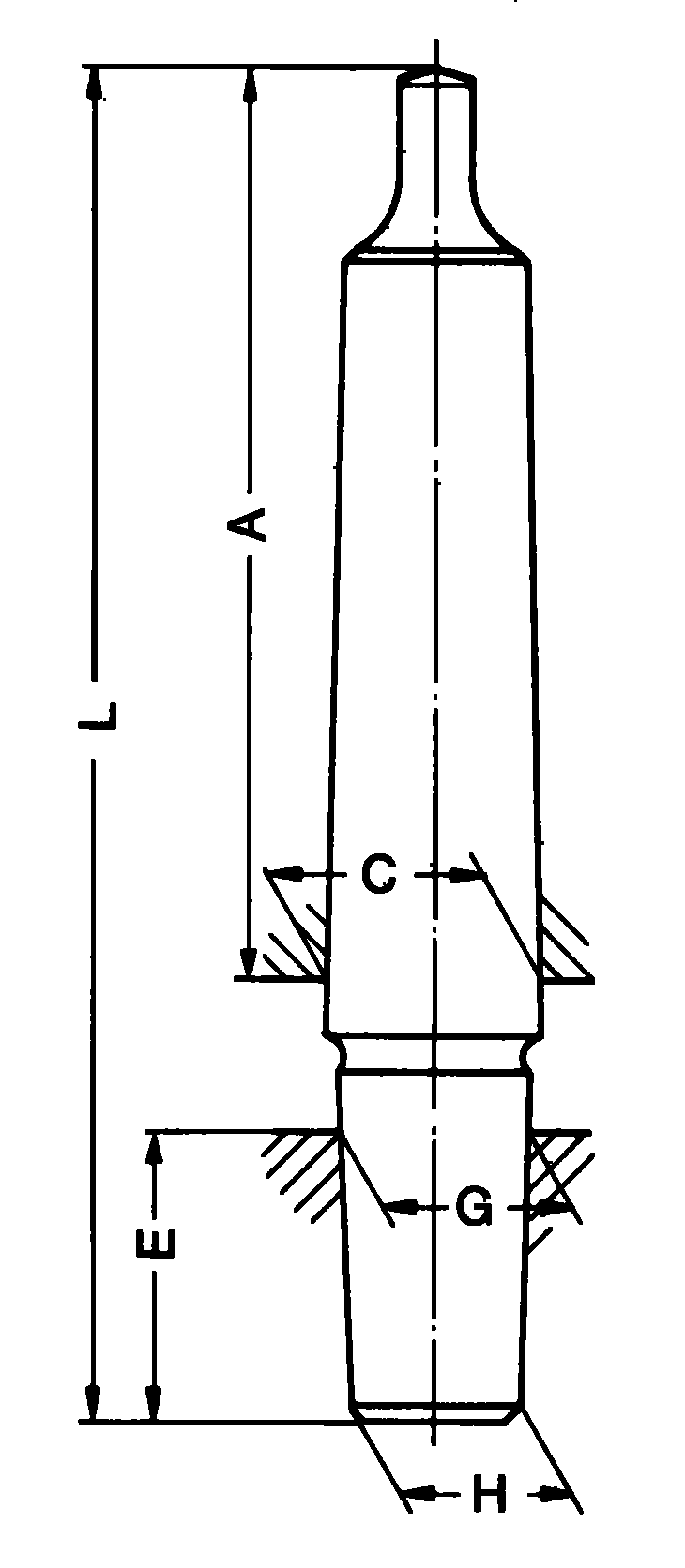
 Item No.  Morse
 taper
 DIN228B
 Drill
 chuck
 taper
 L
 mm
 A
 mm
 C
 mm
 E
 mm
 G
 mm
 H
 mm
 Weight
 approx.
 g
 014897  1  B10  86  62  12.065  14.5  10.095  9.4  55
 014898  1  B12  89  62  12.065  18.5  12.065  11.1  65
 014899  1  B16  97  62  12.065  24  15.733  14.5  90
 014900  1  B18  106  62  12.065  32  17.78  16.2  110
 0187551)  1  B18  97  62  12.065  25  17.431  16.2  95
 014904  2  B10  103.5  75  17.78  14.5  10.095  9.4  130
 014905  2  B12  106.5  75  17.78  18.5  12.065  11.1  135
 014906  2  B16  110.5  75  17.78  24  15.733  14.5  160
 014907  2  B18  117.5  75  17.78  32  17.78  16.2  180
 0187561)  2  B18  108.5  75  17.78  25  17.431  16.2  165
 014908  2  B22  128.5  75  17.78  40.5  21.793  19.8  245
 014911  3  B12  125  94  23.825  18.5  12.065  11.1  280
 014912  3  B16  134  94  23.825  24  15.733  14.5  310
 014913  3  B18  141  94  23.825  32  17.78  16.2  320
 0187571)  3  B18  132  94  23.825  25  17.431  16.2  320
 014914  3  B22  147  94  23.825  40.5  21.793  19.8  390
 014915  3  B24  158  94  23.825  50.5  23.825  21.3  440
 014916  4  B16  159  117.5  31.267  24  15.733  14.5  625
 014917  4  B18  168  117.5  31.267  32  17.78  16.2  660
 0187581)  4  B18  159  117.5  31.267  25  17.431  16.2  640
 014918  4  B22  176  117.5  31.267  40.5  21.793  19.8  715
 014919  4  B24  185  117.5  31.267  50.5  23.825  21.3  770
 014920  5  B16  196  149.5  44.399  24  15.733  14.5  1600
 014921  5  B18  204.5  149.5  44.399  32  17.78  16.2  1600
 0187591)  5  B18  195.5  149.5  44.399  25  17.431  16.2  1560
 014922  5  B22  213.5  149.5  44.399  40.5  21.793  19.8  1650
 014923  5  B24  224.5  149.5  44.399  50.5  23.825  21.3  1700

1) For SUPRA and SPIRO with shortened pick up taper
Taper shank arbors with tapped shank (type 238) or cylindrical shank type (type 237)
on request


A04
Taper shank arbors with Jacobs drill chuck taper
completely hardened and ground


 Item No.  Morse
 taper
 DIN228B
 Drill
 chuck
 taper
 L
 mm
 A
 mm
 C
 mm
 E
 mm
 G
 mm
 H
 mm
 Weight
 approx.
 g
 014970  1  J1  86.5  62  12.065  16.7  9.754  8.5  50
 014971  1  J2  92  62  12.065  22.2  14.199  12.4  70
 014972  1  J3  101  62  12.065  31  20.599  19  50
 014974  1  J6  95  62  12.065  25.4  17.17  15.9  50
 014976  2  J1  101  75  17.78  16.7  9.754  8.5  130
 014977  2  J2  106.5  75  17.78  22.2  14.199  12.4  160
 014978  2  J3  115.5  75  17.78  31  20.599  19  200
 014980  2  J33  109.5  75  17.78  25.4  15.85  14.2  160
 014981  2  J6  109.5  75  17.78  25.4  17.17  15.9  165
 014983  3  J2  126  94  23.825  22.2  14.199  12.4  310
 014984  3  J3  135  94  23.825  31  20.599  19  350
 014987  3  J33  129  94  23.825  25.4  15.85  14.2  310
 014988  3  J6  129  94  23.825  25.4  17.17  15.9  310
 014991  4  J3  161  117.5  31.267  31  20.599  19  475
 014995  4  J6  155  117.5  31.267  25.4  17.17  15.9  620





We reserve the right to make technical changes.