
|


 
 |
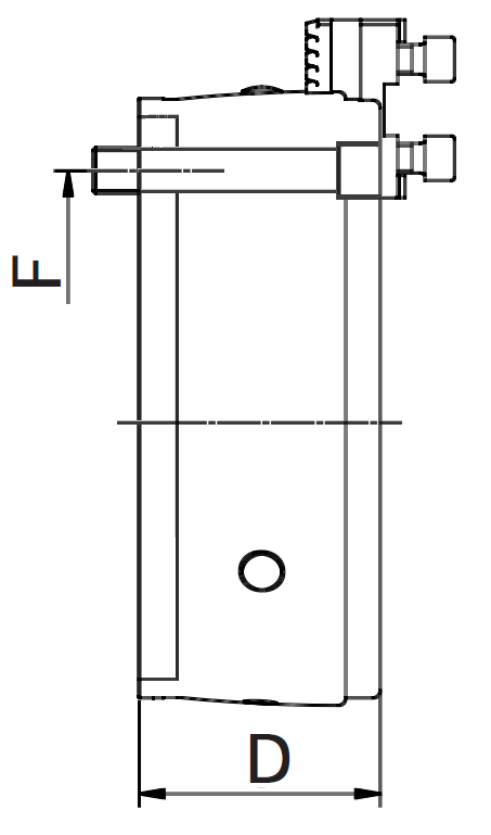
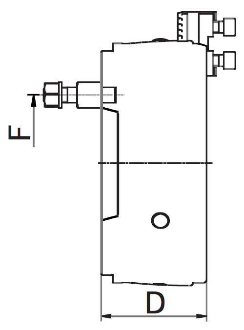
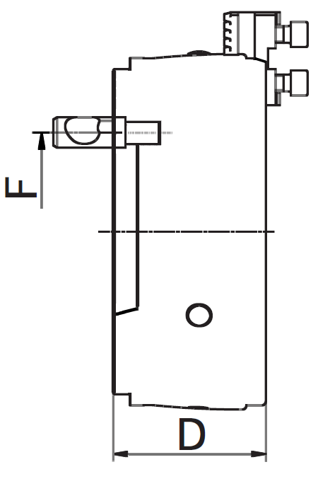
APPLICATION Optimized for turning applications, which require extremely high clamping forces, maximum concentricity, as well as reliable long-term repeatability. In combination with a base plate, stationary use on milling machines, dividing units and machining centers.
TYPE Key bar chuck with quick jaw change system. Guaranteed maximum jaw precision as far as these are only used on the same chuck, and base and top jaws are kept screwed on for recurring work.
CUSTOMER BENEFITS • Maximum clamping force thanks to key bar system • Concentricity and axial run-out tolerance twice as exact as required in DIN precision class 1 • Very high jaw change repeatability • Balanced & jaws in chuck ground out for concentricity
TECHNICAL FEATURES - With jaw safeguard - Chuck body completely surface-hardened - Visual marking for quick jaw adjustment - External shape incl. splash-water edge - Fastening options for strongly stressed sliding surfaces - Incl. safety key - High corrosion protection
 |